뉴스/보도자료

체크멀 보안 솔루션의 새로운 소식을 다양한 보도 매체를 통해 제공하고 있습니다.

엔드포인트 보안 솔루션 전문기업 체크멀(대표 : 김정훈)은 "화이트 리스트 기반 백신의 프로그램 관리 방법"에 대한 국내 특허를 등록하였다고 밝혔다.

2019년 3월 출시된 AppCheck Endpoint Protection 제품과 2020년 2월 출시된 AppCheck Server Protection for Windows 제품의 앱 사용 통제 보호 기능을 통해 제품에 적용되어 있습니다.



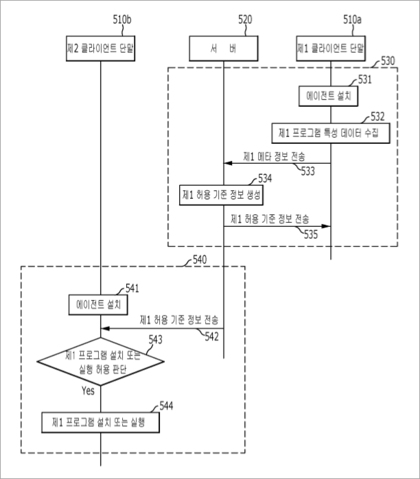
기존 화이트 리스트 기반 제품의 문제점은 클라이언트 단말의 사용자가 업무에 필요한 프로그램의 업그레이드 버전에 대한 관리자의 별도 승인을 요청하면 관리자가 해당 업그레이드 버전에 대한 시그니쳐(Signature)를 원래 프로그램의 시그니쳐와 별개로 생성하여 화이트 리스트에 등재해야만 클라이언트 단말에서 설치 또는 실행이 가능하므로 업무 효율을 저하시키는 문제점이 있습니다.

하지만 체크멀 제품에 적용된 특허 기술은 설치된 앱에 대한 자동 학습을 통해 사용자 PC에 설치된 앱을 분석/분류하며, CMS(중앙 관리 서버) 정책에 따라 앱의 실행을 통제하여 신규 앱이 추가되었을 경우 화이트리스트에 추가된 시그니처에 종속되지 않고 기존 여러 사용자 PC에서 학습된 앱 정보를 바탕으로 유사도 분석 및 스코어링 정책을 통해 앱 실행 여부를 결정하는 것이 핵심입니다.

이를 통해 화이트 리스트 백신을 사용하는 기업 내에서 각종 프로그램에 대한 관리의 편의성을 제공하여 업무 효율성을 유지할 수 있습니다.

김정훈 체크멀 대표는 "AppCheck Endpoint Protection 제품을 통해 기업에서 사용하는 프로그램을 더욱 편하고 안전하게 사용할 수 있도록 제품 개발에 노력하겠다."고 말했다.

목록

위로